產品概述
斜面防爆閥也叫防爆門,是保護鍋爐本體及煙道被吸癟的新型產品。采用鋼制焊接結構,結構簡單,重量輕,性能可靠。主要由閥體、爆破片、壓蓋等組成,當系統壓力大于0.1MPa時,爆破片自行破裂,防止系統發生爆炸。本閥適用于建材、冶金、化工、電力等領域,作為壓縮易爆氣體管道的泄壓裝置。主要起保護作用、防止安全事故的發生。
主要性能參數
| 適用介質 | 適用溫度 | 使用壓力 |
| 壓縮易爆氣體 | ≤80℃ | ≤0.1MPa |
主要零件材料
| 零件名稱 | 閥體 | 爆破片 | 閥蓋 |
| 材料 | 碳鋼 | 鋁合金 | 碳鋼 |

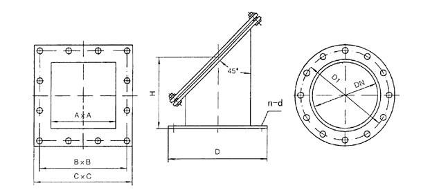
主要外形連接尺寸
A×A | B×B | C×C | H | n-d | DN | D | D1 | H | N-D |
200×200 | 270×270 | 305×305 | 220 | 8-Φ18 | 200 | 305 | 270 | 220 | 9-Φ18 |
250×250 | 335×335 | 370×370 | 250 | 12-Φ18 | 250 | 370 | 335 | 250 | 12-Φ18 |
300×300 | 385×385 | 425×425 | 300 | 12-Φ18 | 300 | 425 | 385 | 300 | 12-Φ18 |
350×350 | 435×435 | 477×477 | 350 | 12-Φ18 | 350 | 477 | 435 | 350 | 12-Φ18 |
400×400 | 490×490 | 536×536 | 400 | 12-Φ18 | 400 | 536 | 490 | 400 | 12-Φ18 |
450×450 | 540×540 | 588×588 | 450 | 16-Φ18 | 450 | 588 | 540 | 450 | 16-Φ18 |
500×500 | 600×600 | 649×649 | 500 | 16-Φ18 | 500 | 649 | 600 | 500 | 16-Φ18 |
600×600 | 700×700 | 750×750 | 550 | 16-Φ18 | 600 | 750 | 700 | 550 | 16-Φ18 |
700×700 | 800×800 | 850×850 | 550 | 16-Φ18 | 700 | 850 | 800 | 550 | 16-Φ18 |
800×800 | 900×900 | 950×950 | 600 | 20-Φ18 | 800 | 950 | 900 | 600 | 20-Φ18 |